The 8-pad 3.2x1.5 Golledge Real Time Clock package

RV-8803-C7

RTC I2C bus High Accuracy

  • High accuracy via digital temperature compensation
  • Time stamp event input function
  • I2C-Bus interface (up to 400kHz)
  • AEC-Q200 compliant option
  • Previously named RV8803C7
Configurable Options
ParameterOption Code
Qualification
A
Quantity / Special Request

Please specify the quantity you require below.

The RV-8803-C7 is supplied on tape and reel. 1k or 3k pcs per reel are the standard T&R pack sizes for this product. Partial quantities may be supplied on tape (no reel), or in bulk.

Product Description

The RV-8803-C7 is a high accuracy, low power real-time-clock module with embedded 32.768 kHz Crystal. High accuracy and high stability is achieved by a factory calibrated, temperature compensated DTCXO giving time-accuracy of ±3.0ppm across the temperature range from -40°C to +85°C, and ±7.0ppm over extended operating temperature range from +85 to +105°C.

Standard Clock & Calendar function tracks second, minute, and hour in 24-hour format, and provides year and leap-year flags. Beside standard RTC functions such as Timer & Alarm, the RV-8803-C7 also includes an integrated temperature sensor, time stamp event input and user RAM and offers I2C bus (2-wire Interface). RV-8803-C7 is the smallest sized and consumes the lowest current of all temperature compensated RTC modules.

In order to align ourselves with industry-standard nomenclature the name of this product has been revised from RV8803C7 to RV-8803-C7. There have been no changes to form, fit or function of the component. You can find more information in our product change notice PCN19032005321 here.

Specifications
Frequencies (selectable) 32.768kHz, 1024Hz, 1Hz
Dimensions 3.2 x 1.5 x 0.8mm
Frequency tolerance (32.768kHz) ±10ppm typ, ±20ppm max, 25°C
Time accuracy ±1.5ppm max (0.13s/day), 0+50°C
±3ppm max (0.26s/day), -40+85°C
±7ppm max (0.6s/day), +85+105°C
Operating temperature range -40 to +85°C *
Storage temperature range -55 to +125°C
Supply voltage (VDD) 1.5 ~ 5.5V
Supply current (time-keeping, VDD=3.0V) 240nA typ / 350nA max
Ageing (25°C) ±3ppm max first year
Shock and vibration resistance ±5ppm, 5,000g, 0.3ms, ½ sine
±5ppm, 20g, 10.0 ~ 2,000Hz
Soldering condition Reflow, 260°C, 20~40s

* Supports +85 to +105°C with limitations

Package Drawing
Package footprint and pad configuration drawing for the Golledge RV-3032-C7 Real Time Clock showing full dimensions.
Ordering Information

To request a quotation for the RV-8803-C7 please use the configurable options form to choose the options you require and then submit your configured product to our team. Our expert advisers are always happy to help with your requirements and can be contacted on +44 1460 256 100 or at sales@golledge.com.

Following product selection you will be issued with a seven character Golledge part number. Your Golledge part number is the internationally accepted Golledge manufacturing part number (MPN) that should be used for all project documentation, including bills of materials (BoMs) and purchase orders.

If you have any queries regarding any of our documentation our dedicated sales team will be happy to help.

CAD Models

Our RV-8803-C7 is included in the following design libraries. Click to download the library of your choice.

Applications

The RV-8803-C7 real time clock is a versatile component suitable for a wide range of applications and uses including:

  • Automotive
  • Commercial White Goods
  • Healthcare
  • Industrial
  • Multi-circuit Power Metering
  • Smart Metering
  • Tracking Devices
Tape & Reel Specification
Tape and Reel specifications for the GTXO-C77V

A:178* / B:12 / C:3.5 / D:1.8 / E:4.0 / F:1.0 / G:61 / H:21
*Larger reel sizes are available

Handling & Storage

ESD icon Human Body Model (HBM) 1A (250V to <500V)

MSL Moisture Sensitivity Level (MSL): 1 (or not applicable)

Construction

SON 8-pin ceramic package

Compliance

PB free icon Lead-free (< 0.1% by weight )

ROHS icon RoHS compliant with no exemptions. See our declaration

REACH icon REACH compliant. See our statement

Conflict minerals icon Free of conflict minerals. See our declaration

Halogen free icon Free of Halogens. See our declaration

Ozone depletion icon Free of Ozone-depleting substances. See our declaration

Supply Partner
Supply Partner

The RV-8803-C7 is manufactured by Micro Crystal and stocked and supplied by Golledge.

Other Information

An evaluation/development board for the RV-8803-C7 is also available on request. Please contact our expert advisers at sales@golledge.com for more information. 

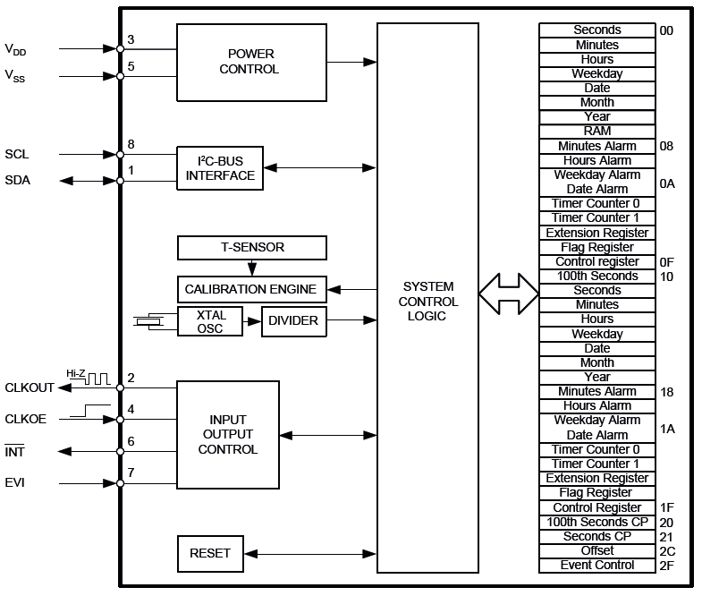
Block Diagram
Block diagram showing electrical characteristics of the RV8803C7 ultra-low power real time clock module.
RELATED ARTICLES

Automotive

Automotive Crystals and AEC-Q200 Qualified Components

10/10/2023


Automotive projects provide a challenge for designers and often require components with stringent AEC-Q200 qualification. Discover our range of components developed specifically for automotive projects here and find what you need for your next project.

Real Time Clock Modules - Quick Comparison Tools

Compare RTC specifications and extra features quickly and easily

06/11/2017


Our comparison charts for both I2C and SPI-bus interface RTC modules means you can easily compare product specifications and extra features at a glance.