
RV-3032-C7
RTC module I2C bus High Accuracy
- Ultra low power consumption 160nA @ 3V
- Excellent time accuracy ±2.5ppm -40 to +85°C
- 12-bit temperature sensor accuracy ±1°C typical
- Timestamped external event input detection with interrupt
- Trickle Charger with charge pump
Specifications
Frequency |
32.768kHz |
Dimensions |
3.2 x 1.5 x 0.8mm |
Time accuracy |
±1.5ppm max (0.13s/day), 0+50°C ±2.5ppm max (0.216s/day), -40+85°C |
Operating temperature range |
-40 to +85°C |
Storage temperature range |
-55 to +125°C |
Supply voltage (VDD) |
1.2 ~ 5.5V |
Supply current (time-keeping, VDD=3.0V) |
160nA typ / 210nA max |
Ageing (25°C) |
±3ppm max first year |
Shock and vibration resistance |
±5ppm, 5,000g, 0.3ms, ½ sine ±5ppm, 20g, 10.0 ~ 2,000Hz |
Soldering condition |
Reflow, 260°C, 20 sec max |
Clock output frequencies (programmable) |
32.768kHz, 1024Hz, 64Hz, 1Hz crystal mode 8192Hz ~ 52MHz HF clock mode |
Net mass |
11.4mg |
Package Drawing

Ordering Information
To request a quotation for the RV-3032-C7 please use the configurable options form to choose the options you require and then submit your configured product to our team. Our expert advisers are always happy to help with your requirements and can be contacted on +44 1460 256 100 or at sales@golledge.com.
Once we've received your request our expert team will then produce a quotation tailored to meet your needs using the option codes you've selected.
Following product selection you will be issued with a seven character Golledge part number. Your Golledge part number is the internationally accepted Golledge manufacturing part number (MPN) that should be used for all project documentation, including bills of materials (BoMs) and purchase orders.
If you have any queries regarding any of our documentation our dedicated sales team will be happy to help.
Tape & Reel Specification

A:178* B:12 C:3.5 D:1.8 E:4.0 F1.15 G:62 H:21
*Larger reel sizes are available
Handling & Storage
Human Body Model (HBM) 1A (250V to <500V)
Moisture Sensitivity Level (MSL): 1 (or not applicable)
Construction
SON 8-pin ceramic package
Compliance
Lead-free (< 0.1% by weight )
RoHS compliant with no exemptions. See our declaration
REACH compliant. See our statement
Free of conflict minerals. See our declaration
Free of Halogens. See our declaration
Free of Ozone-depleting substances. See our declaration
Supply Partner
The RV-3032-C7 is manufactured by Micro Crystal and stocked and supplied by Golledge.
Other Information
An evaluation/development board for the RV-3032-C7 is also available on request. Please contact our expert advisers at sales@golledge.com for more information.
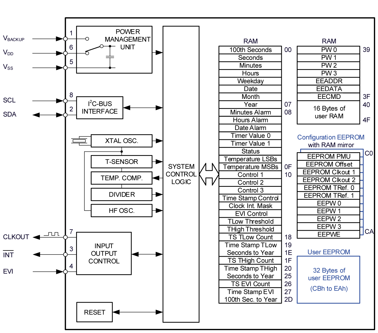
Block Diagram
