
RV-8523-C3
RTC I2C bus Low Power
- Ultra low power consumption (130nA)
- AEC-Q200 compliant option
- Compliant with I2C-Bus interface (400kHz)
- Backup battery input, alarm, timer and interrupt
- Previously named RV8523C3
Specifications
Frequencies (programmable) |
32.768kHz ~ 1Hz |
Dimensions |
3.7 x 2.5 x 0.9mm |
Turnover temperature (T0) |
+25°C ±5°C |
Frequency / temp coefficient |
-0.035ppm/°C2 ±10% |
Operating temperature range |
-40 to +85°C |
Storage temperature range |
-55 to +125°C |
Supply voltage (VDD) |
I2C bus active 1.6 ~ 5.5V Power management 1.8 ~ 5.5V Time-keeping mode 1.2 ~ 5.5V |
Supply current (during access) |
100/200µA typ/max (fscl=1MHz) 50/100µA typ/max (fscl=100kHz) |
Supply current (time-keeping) |
130/180nA typ/max (fscl=0Hz, VDD=3V) 110/160nA typ/max (fscl=0Hz, VDD=2V) |
Ageing |
±3ppm max first year |
Shock and vibration resistance |
±5ppm, 5,000g, 0.3ms, ½ sine ±5ppm, 20g, 10.0 ~ 2,000Hz |
Soldering condition |
Reflow, 260°C, 20 sec max |
Package Drawing

Ordering Information
To request a quotation for the RV-8523-C3 please use the configurable options form to choose the options you require and then submit your configured product to our team. Our expert advisers are always happy to help with your requirements and can be contacted on +44 1460 256 100 or at sales@golledge.com.
Following product selection you will be issued with a seven character Golledge part number. Your Golledge part number is the internationally accepted Golledge manufacturing part number (MPN) that should be used for all project documentation, including bills of materials (BoMs) and purchase orders.
If you have any queries regarding any of our documentation our dedicated sales team will be happy to help.
Technical Resources
Applications
The RV-8523-C3 real time clock is a versatile component suitable for a wide range of applications and uses including:
- Automotive
- Health Care
- IoT
- Industrial
- Metering
- Portable Devices
- Wearables
Tape & Reel Specification

A:178* B:12 C:4 D:2.7 E:4 F:1 G:80 H:21
*Larger reel size available. Please ask for details
Handling & Storage
Human Body Model (HBM) 1A (250V to <500V)
Moisture Sensitivity Level (MSL): 1 (or not applicable)
Construction
Ceramic package
Compliance
Lead-free (< 0.1% by weight )
RoHS compliant with no exemptions. See our declaration
REACH compliant. See our statement
Free of conflict minerals. See our declaration
Free of Halogens. See our declaration
Free of Ozone-depleting substances. See our declaration
Supply Partner

The RV-8523-C3 is manufactured by Micro Crystal and stocked and supplied by Golledge.
Other Information
An evaluation/development board for the RV-8523-C3 is also available on request. Please contact our expert advisers at sales@golledge.com for more information.
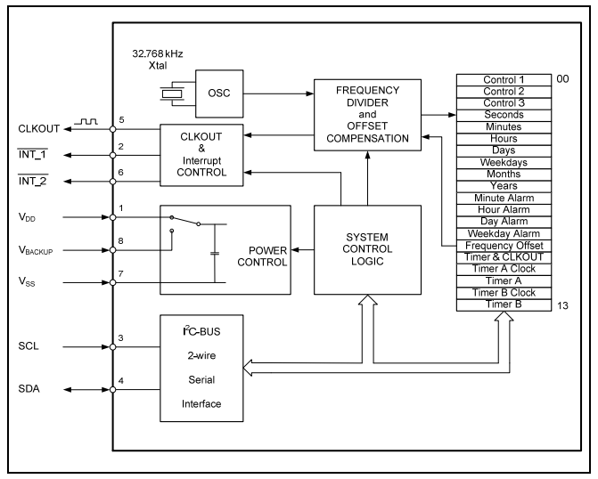
Block Diagram
